vsnc-ftc-m52-mh-n14-f19a
Product ID:16767
Updated: 2026/5/18

Key Features
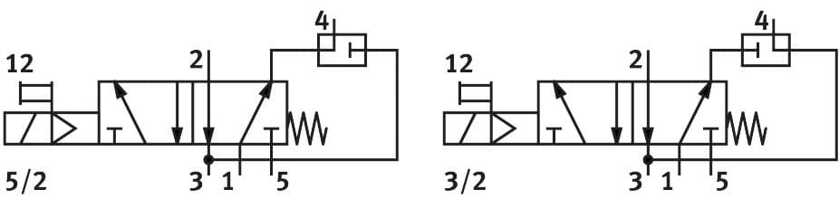
- 1Achieve 800 l/min flow for efficient pneumatic operations. 2、Convert between 5/2 or 3/2-way valve functions flexibly. 3、Ensure reliability with poppet seat and spring reset. 4、Meet VDI/VDE 3845 (NAMUR) safety standards. 5、Simplify setup with soft sealing and any mounting position.
Technical Specifications
Detailed engineering parameters
| Parameter | Value | Parameter | Value |
|---|---|---|---|
| Valve function | 5/2 or 3/2 switchable | Actuation type | Electrical |
| Width | 32mm | Standard nominal flow rate | 800l/min |
| Pneumatic working port | NAMUR connection diagram | Operating voltage | Via solenoid coil, to be ordered separately |
| Operating pressure | 2.5bar 8bar | Structural design | Plate seat |
| Reset method | Mechanical spring | Exhaust air function | With flow control option |
| Sealing principle | Soft | Mounting position | Any |
| Conforms to standard | VDI/VDE 3845 (NAMUR) | Manual override | Non-detenting |
| Type of control | Pilot-controlled | Pilot air supply port | Internal |
| Flow direction | Non-reversible | Symbol | 00991831 |
| Lap | Underlap | Standard nominal flow rate, exhaust air return 4->3 | 110l/min |
| Switching time off | 380ms | On switching time | 435ms |
| Duty cycle | 100% | Coil characteristics | See solenoid coil, to be ordered separately |
| Explosion prevention and protection | Observe the information on the certificate Zone 1 (ATEX) Zone 2 (ATEX) Zone 21 (ATEX) Zone 22 (ATEX) | Operating medium | Compressed air as per ISO 8573-1:2010 [7:4:4] |
| Information on operating and pilot media | Operation with oil lubrication possible (required for further use) | Corrosion resistance class (CRC) | 2 - Moderate corrosion stress |
| LABS (PWIS) conformity | VDMA24364-B2-L | Temperature of medium | -20°C 60°C |
| Ambient temperature | -20°C 60°C | Product weight | 480g |
| Type of mounting | With through-hole | Venting hole connection | Not ducted |
| Pneumatic connection 1 | 1/4 NPT | Pneumatic connection 2 | NAMUR connection diagram |
| Pneumatic connection 3 | 1/4 NPT | Pneumatic connection 4 | NAMUR connection diagram |
| Pneumatic connection 5 | 1/4 NPT | Note on materials | RoHS-compliant |
| Seals material | NBR | Housing material | Wrought aluminum alloy |
| Material of screws | Steel, galvanized | Manufacturer ID | 8116377 |
Specifications may be subject to change without notice
